江苏科技大学首席科学家,材料科学与工程学院教授、博士生导师,国际纳米材料领域知名专家,俄罗斯工程院外籍院士——冠以诸多头衔的郭某,近日被举报涉嫌学历造假、学术不端、侵占国家科研经费等问题。
11月18日,江苏科技大学通报:经调查取证,认定郭某存在严重学术不端行为,已经按规定解除了与郭某的聘用协议,并对其团队师生进行了妥善安排。同时,学校第一时间向公安机关报案,目前案件正在侦办过程中。
19日,澎湃新闻记者致电郭某,其手机号已停机或关机。记者查询发现,在成为江苏科技大学教授之前,郭某是一位经营多家材料科技企业的商人。浙江省丽水市早年推出的《人才在浙丽》栏目曾报道过郭某的故事,视频中显示郭某的头衔为“全国优秀科技工作者、丽水市汉宝科技有限责任公司董事长”。

《人才在浙丽》栏目报道。视频截图
在招聘网上,丽水市汉宝科技有限责任公司曾在2021年发布招聘帖子,招聘岗位包括技术总监、仪器分析测试工程师、产品设计工程师、材料开发工程师、产品销售经理、纳米材料顾问。其中多数岗位要求硕士和博士以上,纳米材料顾问则要求院士教授(柔性岗)。
在一篇《以纳米为尺,创新度量金属材料的未来科技——江苏科技大学首席科学家郭某教授》的公开宣传资料中,郭某宣称,“2020年,我们自主研制的一款新产品(高端能源装备关键配套材料应用于石油开采的新型高强高韧富β型钛合金油井管)一上市,就获得国内首批次供货销售订单2000万元的业绩,并逐渐在行业内站稳了脚跟。2020年,作为全国装备制造业新材料重点领域首批次产品,新一代产品应运而生,强度在1200MPa以上,具备更优越的可靠性、安全性,同时更加环保节能,填补了国内空白……”
郭某提及的“新型高强高韧富β型钛合金油井管材料”,也曾出现在丽水市汉宝科技有限责任公司的宣传报道上。浙江杭州未来科技城微信公众号2019年的一篇报道显示,挂牌入驻浙江人才大厦的丽水市汉宝科技有限责任公司,主要专注于金属材料梯度纳米结构关键技术的研发及应用,现阶段主要定位于研究新型高强韧富β型钛合金油井管材料的研发,研发成果将会应用在石油开采、运储装备配套材料等。该公司董事长正是郭某,公司注册地在丽水莲都,为招揽研发人才,办公室迁到了浙江人才大厦。
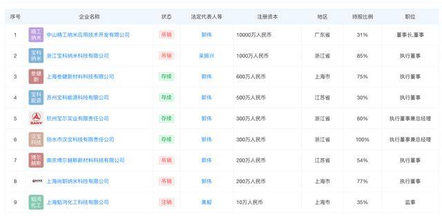
事实上,企业信用信息公示系统显示,郭某是7家企业的法定代表人,其中3家公司已吊销,包括中山精工纳米应用技术开发有限公司、南京博尔赫斯新材料科技有限公司、上海尚职纳米科技有限公司,还有4家公司存续,分别是丽水市汉宝科技有限责任公司、上海叁健新材料科技有限公司、苏州宝科能源科技有限公司、杭州宝尔实业有限责任公司。

与郭某关联的企业。数据来源:天眼查
来源:澎湃新闻