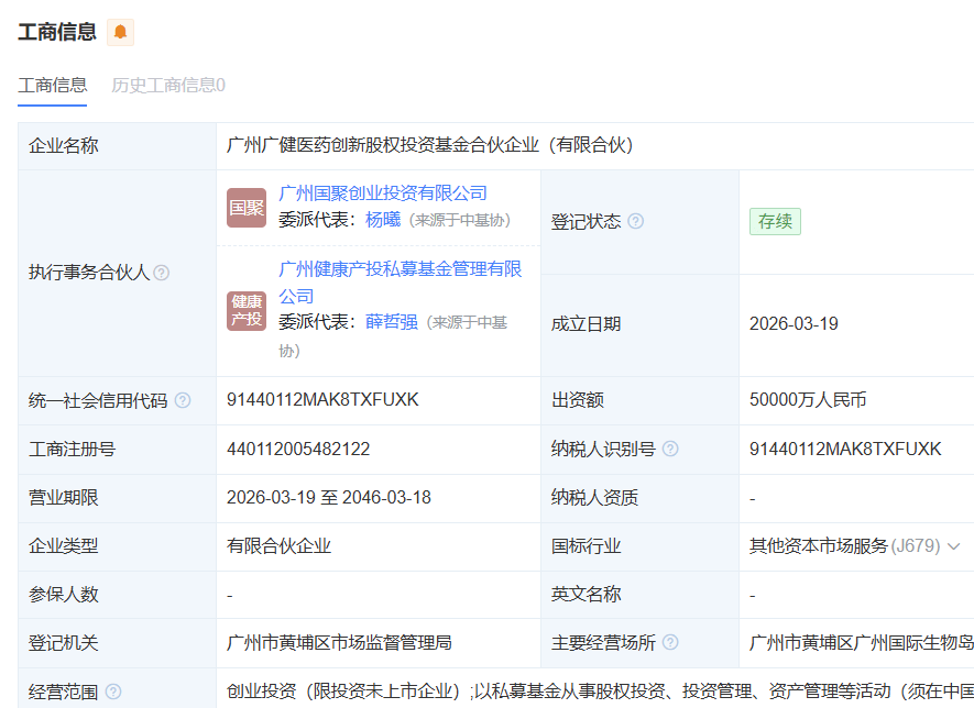
天眼查工商信息显示,3月19日,广州广健医药创新股权投资基金合伙企业(有限合伙)注册成立,执行事务合伙人为广州国聚创业投资有限公司、广州健康产投私募基金管理有限公司,注册资本5亿元,注册地址位于广州市黄埔区广州国际生物岛。

股权结构显示,该基金四个出资方均为国有全资公司。其中出资额最多的为广州生物医药与健康产业投资有限公司,出资额2.99亿元,出资比例59.8%。资料显示,广州生物医药与健康产业投资有限公司为广州金融控股集团有限公司(简称广州金控)旗下全资子公司,成立于2019年,注册资本1000万元人民币,法定代表人为薛哲强。
天眼查信息显示,薛哲强同时担任广州健康产投私募基金管理有限公司法定代表人、董事长、总经理,且其曾担任广州金控旗下控股上市公司广州达安基因股份有限公司(证券简称:达安基因,代码:002030)、广州广永科技发展有限公司、武汉达捷安健康生物科技有限公司法定代表人。
广州金控集团微信公众号2026年1月发布资料显示,广州健康产投基金成立于2024年5月,同年11月获得基金管理人资格,是广州市目前唯一一家专注于生物医药与健康产业领域投资的国有私募基金管理机构。其依托广州金控集团全金融牌照背景,与母公司广州健康产投协同打造“产业投资+产业服务”双轮驱动发展模式。
通过参与政府引导基金、设立市场化基金等,广州健康产投基金重点布局高端医疗器械、创新药、检验诊断、创新医疗服务等赛道。目前公司在管基金4只,总规模4.8亿元,已投资瑞风生物、仕韫生物、百吉生物等18个优质项目。
此次新成立基金的出资方还有广州产业投资基金管理有限公司(简称广州基金)旗下的广州市新兴产业发展基金管理有限公司,出资额1亿元,出资比例20%;广州高新区投资集团有限公司(简称高新区集团)旗下的广州国聚创业投资有限公司,出资额1亿元,出资比例20%;广州健康产投私募基金管理有限公司,出资额100万元,出资比例0.2%。
从股权结构可以看出,此次新成立的广州广健医药创新股权投资基金,是广州金控、广州基金、高新区集团三大广州本土国资产融平台联手在医药创新产业投资领域的最新布局。其中广州金控集团和旗下广州健康产投基金作为最大出资方和执行事务合伙人,将在基金运行中占有主导地位。
当前,广州正重构空间新版图,剑指四千亿生物医药产业集群。据悉,2025年初,广州已对黄埔、南沙、越秀、荔湾四大生物医药价值园区正式授牌,逐步形成以广州国际生物岛为核心,以南沙科学城、中新广州知识城、航空枢纽为南北两极,“一核两极多园区”的生物医药产业生态体系。
采写:南都·湾财社记者 徐劲聪
上一篇:盈米基金,最新发声!