3月26日,健康君获悉,云南省医疗保障局、昆明市医疗保障局面向社会公开征集违法违规使用医保基金的问题线索。
举报内容
(一)定点医疗机构
1.通过包吃包住、免费体检、车接车送,赠送礼品、返还现金等方式,诱导参保人虚假住院。
2.通过给予人头费、奖励提成等方式,拉拢介绍参保人虚假住院骗保。
3.与养老、康复、护理机构等勾结,诱导无住院需求的供养老人、康复人员、失能人员虚假住院骗保。
4.聚敛参保人医保卡,通过空刷套刷等方式骗保。
5.雇佣无资质人员冒用他人名义开展诊疗活动骗保。
6.伪造变造CT、X线、核磁共振、超声等医学影像资料和临床检验检查报告骗保。
7.虚构医学检验项目数量骗保。
8.通过变造麻醉记录、手术记录、理疗记录等方式,虚构诊疗服务项目骗保。
9.通过伪造变造医嘱、处方,篡改药品进销存记录,虚假开具药品耗材等骗保。
10.将自费整形美容类项目串换为医保目录内项目收费骗保。
11.协助他人虚假住院购药、虚构医药服务项目等骗保。
12.其他欺诈骗保和违规使用医保基金行为。
(二)定点零售药店
1.通过私自印刷定点医疗机构空白处方,私刻医疗机构公章、医师个人签章等方式伪造药品处方骗保。
2.与医药企业勾结伪造药品处方骗保。
3.通过互联网医院平台,借助人工智能自动生成虚假处方骗保。
4.聚敛参保人医保卡,通过空刷套刷等方式骗保。
5.将食品、保健品、生活日用品、化妆品等串换为医保报销药品骗保。
6.组织本单位员工空刷套刷医保凭证骗保。
7.有组织前往其他单位、企业等诱导员工虚假购药骗保。
8.诱导或协助参保人倒卖“回流药”骗保。
9.通过非法渠道采购“回流药”进行二次销售骗保。
10.诱导或协助他人冒名购药、超量购药骗保。
(三)参保人
1.参保人利用享受慢性病、特殊病待遇,开药倒卖骗保。
2.参保人在参保年度内死亡后,其他人员利用死亡人员参保信息骗保。
3.未参加医疗保险的人员发生疾病后冒用他人医保待遇就医购药骗保。
4.参保人隐瞒事实真相,将应当由第三方负担的医疗费用进行医保报销骗保。
5.虚构证明材料违规办理特殊病慢性病待遇资格。
6.医务人员凭借职务便利使用医保待遇骗保。
(四)职业骗保人
1.职业骗保人非法收集参保人医保卡开药倒卖。
2.职业骗保人收集参保人信息进行虚假报销,协助参保人虚假住院或骗取医保待遇资格。
3.“黑中介”拉拢、诱导参保人虚假住院骗保。
4.药贩子、卡贩子、职业开药人倒卖“回流药”骗保。
5.组织或参与空刷套刷医保基金,或骗取生育保险待遇等。
6.组织或参与伪造处方、发票单据,伪造、变造基因检测报告等病历资料骗保。
7.协助非参保人骗取医保待遇资格。
(五)重点关注
1.精神类定点医疗机构无明确住院指征收治患者、挂床住院、分解住院,或诱导、协助参保人进行虚假住院、虚构病情、虚构诊疗、伪造文书、违规收费等行为。
2.违反精神康复诊疗规范,实施无指征的过度检查、过度治疗,或超长期、超剂量开具药品,造成医保基金重大损失等行为。
3.血液透析机构及开展血液透析服务的定点医疗机构,虚构透析治疗人次、虚增透析时长、虚开透析耗材与药品、伪造透析治疗记录、串换透析耗材与药品等骗保行为。
4.通过伪造生育证明材料、篡改参保时间、伪造劳动合同、社保缴费补缴记录、虚构劳动关系“挂靠参保”、虚报缴费基数“抬高标准”等方式骗取生育津贴行为。
二、举报方式
云南省医疗保障局
(一)电子邮箱:ynybjjjg@163.com。
(二)云南省医疗保障局微信公众号举报投诉模块。
(三)电话举报。
昆明市医疗保障局
(一)电话方式
昆明市医保基金管理突出问题专项整治工作专班:(0871)63965526。
受理时间:每周一至周五(节假日除外)9:00至11:30、13:30至17:00。
(二)邮寄信件方式
昆明市医疗保障局,昆明市呈贡区锦绣大街1号市级行政中心2号楼,邮编650500。
三、举报须知
(一)云南省各级医保部门将依法依规严肃查处违法违规使用医保基金行为,经查证属实的,将按照《云南省违法违规使用医疗保障基金举报奖励实施细则》规定,对查实的举报案件,按照案值的一定比例给予举报人一次性资金奖励,最高奖励20万元。
(二)云南省各级医保部门将严格执行举报人信息保密制度,对举报人信息和相关内容严格保密,依法保护举报人合法权益。
(三)举报人应严格遵守国家法律法规,对举报内容及所提供材料的真实性负责,反映问题要客观真实,严禁借举报名义夸大、捏造、歪曲事实对他人诬告、陷害。凡恶意举报他人的,将依法承担相应法律责任。
(四)请举报人尽量提供详实、准确的线索信息,如违法违规行为发生的时间、地点、涉及人员、药品名称、规格、涉及金额、相关票据凭证等,提高举报线索的可查性和有效性。
举报电话
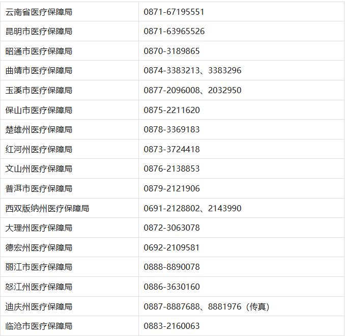
省本级和各州市医保部门举报电话

昆明各县(市)区医保部门
举报受理电话和邮寄地址

医疗保障基金是群众的“看病钱”“救命钱”,欢迎社会各界人士积极主动、客观真实反映问题,共同营造清朗健康的医保基金运行环境,携手守护医保基金安全与自身合法权益。即日起,长期接受线索举报。